Электрокотел

Система отопления в доме является одной из главных коммуникаций, потому ее установке уделяется особое внимание. Эффективность работы зависит от точности разработанной схемы расположения каждого элемента, их качества, вида и мощности котла, который обеспечивает нагрев воды. Сейчас промышленность представляет на рынке несколько типов этих устройств. Выбор зависит от доступности вида топлива, для которого предназначен котел.

Особенности электрических котлов

В настоящее время наблюдается стремительный рост темпов строительства загородных домов. Все больше жителей городов предпочитают расстаться с «каменными джунглями» и поселиться ближе к природе. Проведение коммуникационных магистралей требует серьезных затрат и времени, потому далеко не везде есть возможность воспользоваться централизованными системами отопления, возникает необходимость оборудования автономного обогрева дома.

Элементы электрокотла

Согласно расчетам, одним из самых экономичных устройств является газовый котел. Но это при условии, что в зоне расположения дома проходит магистраль с природным газом. Использование сжиженного бутана значительно снижает экономичность и степень безопасности. Установка котлов, работающих на твердом, жидком топливе требует не только оборудования котельной с качественной системой вентиляции, но и сооружений для хранения запасов, без которых бесперебойную работу системы обеспечить невозможно. Главным преимуществом электрокотла является доступность топлива. Электричество проводится к каждому загородному поселку, деревне, потому у всех владельцев есть возможность подвести его к своему дому.

В ассортименте магазинов представлено много различных моделей электрокотлов, что обеспечивает хороший выбор. Но если есть необходимость сэкономить средства на покупке, можно изготовить это устройство своими руками. Разумеется, для этого необходимы знания принципа работы и опыт сборки электроприборов. В настоящее время в специализированных магазинах можно приобрести все составляющие, которые потребуются для создания электрокотла, поэтому проблем с их поиском не будет.

Виды электрокотлов

Все водяные системы отопления устроены однотипно. Вода, подогреваемая котлом, проходит по конструкции из труб и радиаторов, возвращается для нагрева. В электрокотле происходит преобразование энергии из электрической в тепловую, что и обеспечивает подогрев теплоносителя. Отвечает за этот процесс ТЭН.

Существует два вида установки трубчатого электронагревателя:

  1. Он может быть встроен в отопительную систему, что упрощает задачу. Такой электрокотел можно использовать в качестве основного прибора отопления или вспомогательного. Но, следует учесть, что для создания такого устройства требуется труба большего диаметра, чем те, что используются в отопительной системе. Для того чтобы в случае появления неисправностей, не пришлось вырезать электрокотел, его необходимо сделать съемным.
  2. Опытные специалисты считают, что более эффективным и целесообразным является создание агрегата, который находится отдельно от системы. Это позволяет производить необходимый ремонт, не нарушая ее целостность, обеспечивает лучшие условия для контроля над его работой. Такой вариант лучше подходит и для установки дополнительных датчиков, позволяющих повысить безопасность и эффективность отопительной системы. Кроме того, при необходимости замены устройства на котел, рассчитанный на другой вид топлива, его монтаж не вызовет проблем.

ТЭН нужно приобрести в готовом виде, выбирая мощность с учетом площади дома, пропускной способности системы. Для обогрева дома площадью до 50 кв. м. потребуется устройство мощностью 6 кВт, площадью до 80 кв. м. — 12 кВт. Можно использовать два ТЭНа, установленных параллельно.

Сборка и установка электрокотла

В создании электрокотла потребуется:

  1. Трехфазный ТЭН
  2. Отрезок толстостенной стальной трубы полуметровой длины диаметром 219 мм.
  3. Стальной лист толщиной 2 мм (для крышек).

Для обеспечения необходимой герметичности корпуса потребуется приварить с обеих сторон трубы стальные крышки. В той, которая будет располагаться в верхней части устройства, необходимо сделать отверстие диаметром 40−50 ммдля горячей воды, поступающей в отопительную систему. В нижней части трубы в боковой части также создается отверстие, в которое будет поступать охлажденный теплоноситель. Напротив него или на нижней крышке монтируется ТЭН.

Дополнительно следует установить в трубе, подающей охлажденную воду, электронасос, который обеспечит необходимую циркуляцию воды в системе. Установленные шаровые вентили позволят перекрывать электрокотел, производить ремонт без необходимости сливать всю воду из системы.

Обеспечивает работу агрегата электрическая часть. Для нее потребуется сборка электрощита. Если в доме нет трехфазного ввода, понадобится его подключение. В металлическом щите размещаются магнитный пускатель, автомат, тумблер, реле, кнопки для управления котлом. Монтаж щита производится квалифицированным специалистом. Кроме щита требуется создание заземления. К металлическому штырю приваривается болт. Конструкция размещается над полом. Провод прикручивается к болту, проводится в электрощит. Качество работы заземления проверяется ежегодно специализированной организацией с фиксированием результатов замеров в протоколе.

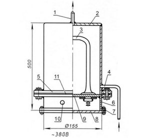
Схема электрокотла:

  1. Схема электрокотлатруба для отвода горячей воды;
  2. корпус;
  3. трубчатый электронагреватель;
  4. труба входа охлажденной воды;
  5. фланец верхний с прокладкой для герметизации;
  6. поддон;
  7. фланец нижний;
  8. крышка поддона;
  9. нижняя крышка корпуса;
  10. отверстие для подведения электрического шнура;
  11. прокладка.

Электрическая схема:

  • Электрическая схемаА — АП-50−3МТ (автомат);
  • МП — магнитный пускатель;
  • П, С — кнопки;
  • Т — тумблер;
  • Р — реле;
  • Пр — предохранитель;
  • ТР — ТР-0М5−03 (датчик температуры).

Установка дополнительных автоматических систем дает возможность обеспечить безопасность работы электрокотла и удобство в пользовании. Специальные датчики позволяют устанавливать в доме комфортную температуру, отключать систему в случае аварийной ситуации.

Видеоинструкция